Na dërgoni me email

sdepochwater@hotmail.com

Lajme

Karakteristikat dhe klasifikimi i valvulave të portës

2025-10-31 0 Më lini një mesazh


Valvula e portës, e njohur gjithashtu si valvula e pllakës së portës, është një valvul, pjesa hapëse dhe mbyllëse e së cilës është një pllakë porte dhe e cila drejtohet nga një kërcell valvulash për të lëvizur pllakën e portës lart e poshtë.


Karakteristikat e valvulave të portës


1) Përparësitë e valvulave të portës: Rezistencë e ulët e rrjedhjes së lëngut; Çift rrotullues i kërkuar për hapjen dhe mbylljen është i vogël. Drejtimi i rrjedhës së mediumit është i pakufizuar. Nuk ka fenomen të çekiçit të ujit gjatë hapjes dhe mbylljes. Struktura e formës është relativisht e thjeshtë, dhe procesi i prodhimit është më i mirë.


2) Disavantazhet e valvulave të portës: Ato kanë dimensione të jashtme relativisht të mëdha dhe lartësi instalimi dhe kërkojnë një hapësirë ​​të konsiderueshme instalimi. Gjatë procesit të hapjes dhe mbylljes, ka fërkime relative në sipërfaqen e vulosjes, duke rezultuar në konsumim të konsiderueshëm. Edhe në temperatura të larta, është i prirur ndaj gërvishtjeve. Valvulat e portës zakonisht kanë dy sipërfaqe mbyllëse, gjë që shton disa vështirësi në përpunim, bluarje dhe mirëmbajtje.


Valvulat e portës kanë një gamë të gjerë aplikimesh. Zakonisht përdoret për tubacionet e furnizimit me ujë me një diametër nominal prej DN50 ose më shumë.



Klasifikimi i valvulave të portës


Valvulat e portës mund të klasifikohen sipas metodave të lidhjes në valvulat e portës së filetuar, valvulat e portës me fllanxha dhe valvulat e portës së salduar. Sipas veçorive strukturore, ato mund të ndahen në pllaka porta paralele dhe pllaka porta me pykë. Bazuar në strukturën e trungut të valvulës, ato mund të klasifikohen në valvulat e portës së dallueshme të rrjedhës (stërvitja ngritëse) dhe valvulat e portës së trungut të fshehtë (tundulli rrotullues).




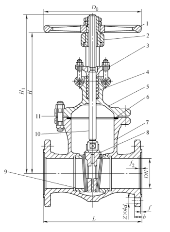
1) Valvula me portë e dyfishtë paralele me kërcell të hapur: Valvula e dyfishtë paralele me rrjedhje të hapur është paraqitur në figurën 1. Porta e saj përbëhet nga dy disqe simetrike dhe paralele. Kur porta zbret, pyka e sipërme e vendosur në fund të portës bën që dy portat të zgjerohen nga jashtë dhe të shtypen fort kundër sediljes së valvulës, duke mbyllur kështu valvulën fort. Kur porta ngrihet, pyka shkëputet nga disku. Pasi disku ngrihet në një lartësi të caktuar, pyka ngrihet nga zgjatjet në disk dhe ngrihet së bashku me portën. Kjo valvul ka një strukturë të thjeshtë. Përpunimi, bluarja dhe mirëmbajtja e sipërfaqes së saj mbyllëse janë të gjitha më të thjeshta se ato të valvulës së portës së pykës. Megjithatë, performanca e tij e vulosjes është relativisht e dobët. Është i përshtatshëm për media me një presion jo më të madh se 1.0MPa dhe një temperaturë jo më të madhe se 200℃.



Figura 1: Valvula e dyfishtë e portës paralele në rritje


1. Rrota e dorës 2- dado e trungut të valvulës 3- shtylla e valvulës 4 - gjëndër paketimi 5 - ambalazhimi 6 - mbulesa e valvulës

7 - Guarnicioni 8 - Unaza mbyllëse 9- Trupi i valvulës 10- Porta 11 - Pyka e sipërme


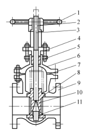
2) Valvula e portës së fshehtë të pykës së trungut: Siç tregohet në figurën 2, sipërfaqja mbyllëse e kësaj valvule është e pjerrët dhe formon një kënd. Sa më e lartë të jetë temperatura mesatare, aq më i madh është Këndi. Pllakat e portës me pykë klasifikohen në pllaka portash të vetme, pllaka portash të dyfishta dhe pllaka portash elastike, siç tregohet përkatësisht në figurat 2a, b dhe c. Përpunimi, bluarja dhe mirëmbajtja e pllakave të portës me pykë janë më të komplikuara se ato të pllakave të portës paralele, por ato kanë performancë më të mirë vulosjeje.


Figura 2 Valvula e portës së fshehur të pykës së trungut


a) Pllaka e portës me një pykë b) Pllaka e portës së dyfishtë me pykë c) Pllaka e portës elastike me pykë


1. Rrota dore 2. Treguesi 3. Kapaku 4. Kutia e mbushjes 5. Paketimi 6. Mbulesa e valvulës

7- Boshti i valvulës 8 - Dado e trungut të valvulës 9, 12 - Unaza mbyllëse 10 - Trupi i valvulës 11 - Pllaka e portës 13 - Guarnicioni


Valvula e portës elastike është paraqitur në figurën 3. Ajo ka avantazhet e strukturës së thjeshtë dhe përdorimit të besueshëm, dhe mund të prodhojë një deformim të vogël elastik, i cili rrit ngushtësinë e mbylljes.



Figura 3 Valvula e portës elastike


1. Rrota e dorës 2- dado e trungut të valvulës 3 - gjëndër paketimi 4 - ambalazhi 5 - mbulesa e valvulës 6 - copë litari

7- Trupi i valvulës 8 Pllaka e portës 9 - Unaza mbyllëse 10 - Kërcelli i valvulës 11 - Bulon lidhës


Në një valvul të portës së kërcellit në rritje, filli i trungut të valvulës përshtatet me një arrë mëngë të pajisur me një rrotë dore. Fundi i poshtëm i kërcellit të valvulës ka një kokë katrore, e cila është e ngulitur në pllakën e portës. Kur rrotullohet rrota e dorës, trungu i valvulës dhe pllaka e portës lëvizin lart e poshtë. Kur hapet, kërcelli i valvulës zgjatet jashtë rrotës së dorës. Avantazhi është se shkalla e hapjes së valvulës mund të gjykohet nga gjatësia e zgjatur e kërcellit të valvulës dhe trungu i valvulës nuk bie në kontakt të drejtpërdrejtë me mediumin e përcjellë. E meta është se valvula ka një lartësi të madhe hapjeje dhe vendi i instalimit duhet të ketë hapësirë ​​të mjaftueshme që trungu i valvulës të shtrihet nga jashtë. Kur instaloni në vend, sigurohuni t'i kushtoni vëmendje kësaj pike. Fije e jashtme e valvulës së valvulës së portës së trungut të fshehur përshtatet me fillin e brendshëm të ngulitur në valvul. Prandaj, kur rrotullohet rrota e dorës, trungu i valvulës rrotullohet, duke bërë që porta brenda valvulës të lëvizë lart e poshtë, por trungu i valvulës nuk mund të lëvizë lart e poshtë. Valvula e portës së fshehur të trungut zë më pak hapësirë ​​gjatë instalimit. Mjeti i përcjellë bie në kontakt të drejtpërdrejtë me kërcellin e valvulës dhe shkalla e hapjes së valvulës nuk mund të gjykohet përmes trungut të valvulës. Qoftë nëse është një valvul i portës së rrjedhës në rritje ose një valvul i portës së rrjedhjes jo-ngritje, valvula e portës duhet të instalohet horizontalisht. Trungu i valvulës duhet të jetë vertikalisht lart dhe jo i prirur. Ndalohet rreptësisht instalimi i shtyllës së valvulës poshtë.



Lajme të ngjashme
Më lini një mesazh
X
Ne përdorim cookies për t'ju ofruar një përvojë më të mirë shfletimi, për të analizuar trafikun e faqes dhe për të personalizuar përmbajtjen. Duke përdorur këtë faqe, ju pranoni përdorimin tonë të cookies. Politika e privatësisë
Refuzo Pranoje